Table of Contents
Phần này liệt kê nội dung của hộp vận chuyển nguyên đai nguyện kiện team seal cho bộ chuyển mạch Catalyst 9500 Series
Hướng dẫn cài đặt phần cứng Cisco Catalyst 9500 Series
Dòng thiết bị chuyển mạch Cisco Catalyst 9500 bao gồm các thiết bị chuyển mạch lớp tổng hợp và lõi cố định hỗ trợ nguồn điện dự phòng và quạt Module. Cisco Catalyst 9500 Series cung cấp các mẫu thiết bị chuyển mạch có cổng đường xuống thuộc các loại sau:
- 16 và 32 cổng 100G QSFP28
- 12, 24 và 32 cổng 40G QSFP
- 24 và 48 cổng 25G SFP28
- 16, 24, 40 và 48 của 10G SFP / SFP28
| Cisco Catalyst 9500 Series | |||
| C9500-16X-E | $ | C9500-16X-A | $ |
| C9500-24Y4C-E | $ | C9500-24Y4C-A | $ |
| C9500-48Y4C-E | $ | C9500-48Y4C-A | $ |
Switch dòng Catalyst 9500 cung cấp hỗ trợ cho các tính năng sau:
|
Mã |
Mô tả |
|---|---|
|
C9500-16X-2Q |
16×10 Gigabit Ethernet SFP/SFP+ ports and 2×40 Gigabit Ethernet (QSFP+) network module on uplink ports; and two power supply slots |
|
C9500-40X-2Q |
40 10-Gigabit Ethernet SFP/SFP+ ports and 2×40 Gigabit Ethernet (QSFP+) network module on uplink ports; and two power supply slots |
|
C9500-24X |
16×10 Gigabit Ethernet SFP/SFP+ ports and 8×10 Gigabit Ethernet (SFP/SFP+) network module on uplink ports; and two power supply slots |
|
C9500-48X |
40×10 Gigabit Ethernet SFP/SFP+ ports and 8×10 Gigabit Ethernet (SFP/SFP+) network module on uplink ports; and two power supply slots |
Kết nối Uplink
- Module mạng với cổng Uplink SFP và QSFP cung cấp kết nối 10G và 40G trên các thiết bị chuyển mạch C9500-16X và C9500-40X.
- Đã sửa lỗi các cổng Uplink QSFP hỗ trợ kết nối 40G / 100G trên các thiết bị chuyển mạch C9500-24Y4C và C9500-48Y4C.
Khả năng bảo mật nâng cao như hệ thống MACSec-256 và TrustWorthy.
Tích hợp IoT và tự động hóa dựa trên chính sách từ biên tới đám mây với giải pháp SD-Access.
Cổng bảng điều khiển RJ-45 và USB Mini-Type B.
Hỗ trợ lưu trữ SATA SSD để lưu trữ ứng dụng dựa trên bộ chứa trên một số kiểu máy chuyển mạch nhất định.
|
Mã |
Mô tả |
|---|---|
|
Cisco Catalyst 9500 Series Switches |
|
|
C9500-12Q |
12×40 Gigabit Ethernet QSFP+ ports and 2 power supply slots |
|
C9500-24Q |
24×40 Gigabit Ethernet QSFP+ ports and 2 power supply slots |
|
C9500-16X |
16×10 Gigabit Ethernet SFP/SFP+ ports and 2 power supply slots; supports optional network modules on uplinks ports — 8×10 Gigabit Ethernet(SFP/SFP+) and 2×40 Gigabit Ethernet(QSFP+) |
|
C9500-40X |
40×10 Gigabit Ethernet SFP/SFP+ ports and 2 power supply slots; supports optional network modules on uplink ports — 8×10 Gigabit Ethernet(SFP/SFP+) and 2×40 Gigabit Ethernet(QSFP+) |
|
Cisco Catalyst 9500 Series High Performance Switches |
|
|
C9500-32C |
32x40G/100G QSFP28 ports and 2 power supply slots |
|
C9500-32QC |
32x40G or 16x100G QSFP28 ports and 2 power supply slots |
|
C9500-24Y4C |
24x1G/10G/25G SFP28 ports and 2 power supply slots; 4x40G/100G QSFP28 fixed uplink ports |
|
C9500-48Y4C |
48x1G/10G/25G SFP28 ports and 2 power supply slots; 4x40G/100G QSFP28 fixed uplink ports |
Bảng điều khiển phía trước
Hình Mặt trước của Switch Cisco Catalyst 9500 12 cổng
Hình Mặt trước của Switch Cisco Catalyst 9500 24 cổng
Hình Mặt trước của Switch Cisco Catalyst 9500 16 cổng
Hình Mặt trước của Switch Cisco Catalyst 9500 40 cổng
Hình Mặt trước của Bộ chuyển mạch hiệu suất cao Cisco Catalyst 9500 (C9500-32C)
Hình Mặt trước của Bộ chuyển mạch hiệu suất cao Cisco Catalyst 9500 (C9500-32QC)
Hình Mặt trước của Bộ chuyển mạch hiệu suất cao 48 cổng Cisco Catalyst 9500 (C9500-48Y4C)
Hình Mặt trước của Bộ chuyển mạch hiệu suất cao 24 cổng Cisco Catalyst 9500 (C9500-24Y4C)
Cổng Module SFP và QSFP
Các Module SFP và QSFP cung cấp kết nối đồng hoặc cáp quang với các thiết bị khác. Các cổng Module SFP và QSFP cho Thiết bị chuyển mạch Cisco Catalyst 9500 như sau:
Trên Thiết bị chuyển mạch hiệu suất cao Cisco Catalyst 9500 Series, cáp đột phá chỉ được hỗ trợ trên kiểu C9500-32C. Cáp đột phá cho phép tách một giao diện 40G QSFP + thành bốn giao diện 10G SFP + và một giao diện 100G QSFP28 duy nhất thành bốn giao diện 25G SFP28.
Thẻ RFID
Khung máy có gắn sẵn thẻ RFID thụ động , mặt trước, sử dụng công nghệ UHF RFID và yêu cầu một đầu đọc RFID với phần mềm tương thích. Nó cung cấp khả năng tự động nhận dạng để quản lý và theo dõi tài sản.
Cổng bảng điều khiển
Các cổng bảng điều khiển kết nối bộ chuyển mạch với PC chạy Microsoft Windows hoặc với máy chủ đầu cuối.
Cổng giao diện điều khiển RJ-45 (EIA / TIA-232). Kết nối cổng giao diện điều khiển RJ-45 sử dụng cáp RJ-45-to-DB-9 cái.
Cổng bảng điều khiển USB loại B mini (đầu nối 5 chân).
Nếu bạn sử dụng cổng bảng điều khiển USB mini-Type B, trình điều khiển thiết bị USB Cisco Windows phải được cài đặt trên bất kỳ PC nào được kết nối với cổng bảng điều khiển (để hoạt động với Microsoft Windows). Mac OS X hoặc Linux không yêu cầu trình điều khiển đặc biệt.
Đầu nối Loại B mini 4 chân giống với đầu nối Loại B mini 5 chân. Chúng không tương thích. Chỉ sử dụng loại B mini 5 chân.
Với trình điều khiển thiết bị Cisco Windows USB, bạn có thể kết nối và ngắt kết nối cáp USB khỏi cổng bảng điều khiển mà không ảnh hưởng đến hoạt động của Windows HyperTerminal.
Đầu ra bảng điều khiển luôn đi đến cả RJ-45 và đầu nối bảng điều khiển USB, nhưng đầu vào bảng điều khiển chỉ hoạt động trên một trong các đầu nối bảng điều khiển cùng một lúc. Bảng điều khiển USB được ưu tiên hơn bảng điều khiển RJ-45. Khi cáp được kết nối với cổng bảng điều khiển USB, cổng bảng điều khiển RJ-45 sẽ không hoạt động. Ngược lại, khi ngắt kết nối cáp USB khỏi cổng bảng điều khiển USB, cổng RJ-45 sẽ hoạt động.
Bạn có thể sử dụng giao diện dòng lệnh (CLI) để định cấu hình thời gian chờ không hoạt động sẽ kích hoạt lại bảng điều khiển RJ-45 nếu bảng điều khiển USB đã được kích hoạt và không có hoạt động đầu vào nào xảy ra trên bảng điều khiển USB trong một thời gian nhất định.
Sau khi bảng điều khiển USB ngừng hoạt động do không hoạt động, bạn không thể sử dụng CLI để kích hoạt lại nó. Ngắt kết nối và kết nối lại cáp USB để kích hoạt lại bảng điều khiển USB. Để biết thông tin về cách sử dụng CLI để định cấu hình giao diện bảng điều khiển USB, hãy xem Hướng dẫn cấu hình phần mềm, Cisco IOS XE Everest 16.5.1 (Switch Catalyst 9500).
Cổng quản lý
Cổng quản lý Ethernet, còn được gọi là cổng Gi0 / 0 hoặc GigabitEthernet0 / 0, là một giao diện VRF (định tuyến / chuyển tiếp VPN) mà bạn có thể kết nối PC. Nó hỗ trợ tải xuống hình ảnh TFTP, quản lý mạng, kết nối SNMP, Telnet và SSH. Các thiết bị chuyển mạch hỗ trợ quản lý ngoài băng thông qua Mgmt-vrf. Mgmt-vrf được sử dụng để phân đoạn lưu lượng quản lý từ bảng định tuyến chung của switch. Cổng quản lý Ethernet hỗ trợ tốc độ lên đến 10/100/1000 Mbps và được đặt ở chế độ tự động thương lượng.
Cổng máy chủ USB
Bộ chuyển mạch Cisco Catalyst 9500 Series hỗ trợ hai cổng USB host – USB 2.0 trên bảng điều khiển phía trước và USB 3.0 trên bảng điều khiển phía sau. Cổng USB 2.0 hỗ trợ ổ đĩa flash USB Cisco có dung lượng từ 128 MB đến 8 GB (hỗ trợ các thiết bị USB có mật độ cổng 128 MB, 256 MB, 1 GB, 4 GB và 8 GB). Phần mềm Cisco IOS cung cấp quyền truy cập hệ thống tệp tiêu chuẩn vào thiết bị flash: đọc, ghi, xóa và sao chép, cũng như khả năng định dạng thiết bị flash bằng hệ thống tệp FAT. Cổng USB 3.0 SSD cung cấp một thiết bị lưu trữ SSD 120 GB USB 3.0 tùy chọn để lưu trữ ứng dụng và lưu các bản ghi và theo dõi gói tin.
Trong Thiết bị chuyển mạch hiệu suất cao Cisco Catalyst 9500 Series, cổng USB 3.0 có sẵn trên bảng điều khiển phía trước và hỗ trợ ổ đĩa flash USB Cisco có dung lượng từ 64 MB đến 16 GB.
Nut điêu chỉnh chê độ
Nút chế độ có chức năng sau:
Chế độ đèn LED trạng thái 10G – hoạt động với đèn LED trạng thái 10G để cho biết trạng thái của cổng 10G
Chế độ đèn LED trạng thái 10G
Mỗi cổng 40G có thể được định cấu hình để hoạt động như một cổng 10G bằng cách sử dụng Cisco QSFP đến bốn Cáp đột phá quang hoạt động SFP kết nối cổng 40G QSFP của Switch ở một đầu với bốn cổng 10G SFP của Switch ở đầu kia. Sau khi khởi động hệ thống, bốn đèn LED Trạng thái 10G cho biết trạng thái của cổng 10G 1-4 theo mặc định sẽ ánh xạ đến cổng 40G số 1. Nhấn nhanh vào nút chế độ sẽ di chuyển con trỏ đến nhóm 10G tiếp theo (5-8) để ánh xạ đến cổng 40G số 2. Bạn có thể kiểm tra trạng thái của tất cả 96 cổng 10G bằng cách nhấn nút chế độ 24 lần, sau đó nó quay trở lại cổng 10G 1-4.
Module mạng
Các mẫu thiết bị chuyển mạch C9500-16X và C9500-40X hỗ trợ hai Module mạng cung cấp các cổng đường lên để kết nối với các thiết bị khác. Switch chỉ nên được vận hành khi đã lắp đặt Module mạng hoặc Module trống.
| Network Module | Mô tả |
|---|---|
|
C9500-NM-8X |
This module has eight 10G SFP ports. Any combination of standard SFP modules are supported. |
|
C9500-NM-2Q |
This module has two 40G QSFP ports. Any combination of standard QSFP modules are supported. |
Đèn báo LED
Bạn có thể sử dụng đèn LED Switch để theo dõi hoạt động và hiệu suất của Switch. Bạn cũng có thể theo dõi trạng thái của cụm khay quạt và nguồn điện.
Đèn LED trên thiết bị chuyển mạch Cisco Catalyst 9500 Series
Đèn LED trên thiết bị chuyển mạch hiệu suất cao Cisco Catalyst 9500 Series
Mỗi cổng Ethernet, khe cắm Module Ethernet 1-Gigabit và khe cắm Module Ethernet 10-Gigabit đều có đèn LED cổng. Các đèn LED cổng này, theo nhóm hoặc riêng lẻ, hiển thị thông tin về Switch và về các cổng riêng lẻ. Chế độ cổng xác định loại thông tin được hiển thị bởi đèn LED cổng.
Để chọn hoặc thay đổi một chế độ, hãy nhấn nút Chế độ cho đến khi chế độ mong muốn được tô sáng. Khi bạn thay đổi chế độ cổng, ý nghĩa của màu đèn LED cổng cũng thay đổi.
Khi bạn nhấn nút Chế độ trên bất kỳ Switch nào trong ngăn xếp Switch, tất cả các Switch ngăn xếp sẽ thay đổi để hiển thị cùng một chế độ đã chọn. Ví dụ: nếu bạn nhấn nút Chế độ trên Switch đang hoạt động để hiển thị đèn LED TỐC ĐỘ, tất cả các Switch khác trong ngăn xếp cũng hiển thị đèn LED TỐC ĐỘ.
Quản trị viên có thể bật UID và đèn LED báo hiệu để chỉ ra rằng Switch cần được chú ý. Nó giúp quản trị viên xác định Switch. Có thể bật đèn hiệu bằng cách nhấn nút UID trên bảng điều khiển phía trước của Switch hoặc bằng cách sử dụng CLI. Có một đèn hiệu màu xanh lam trên bảng điều khiển phía trước và phía sau của Switch. Đèn hiệu màu xanh lam trên bảng điều khiển phía trước là một nút có nhãn UID và trên bảng điều khiển phía sau là một đèn LED có nhãn BEACON.
Bảng điều khiển phía sau
Bảng điều khiển phía sau của Switch Cisco Catalyst 9500 (C9500-12Q, C9500-24Q, C9500-40X và C9500-16X)
Bảng điều khiển phía sau của Bộ chuyển mạch hiệu suất cao Cisco Catalyst 9500 (C9500-32C)
Bảng điều khiển phía sau của Switch hiệu suất cao Cisco Catalyst 9500 (C9500-32QC, C9500-48Y4C và C9500-24Y4C)
Module SSD SATA
Để hỗ trợ nhu cầu lưu trữ trên bộ chuyển mạch, Bộ chuyển mạch hiệu suất cao Cisco Catalyst 9500 Series cung cấp hỗ trợ cho Module Ổ đĩa thể rắn (SSD) của Ổ cứng thể rắn (SSD) nối tiếp có thể cắm được. Khe cắm Module SSD SATA nằm ở bảng điều khiển phía sau của Switch. Các dải dung lượng lưu trữ của Module SSD là 240GB, 480GB và 960GB. SSD SATA hoạt động như một thiết bị lưu trữ đa năng. Ổ đĩa lưu trữ cũng có thể được sử dụng để lưu các gói bắt và theo dõi nhật ký do hệ điều hành tạo ra.
Khe cấp nguồn
Switch có hai khe cấp nguồn chấp nhận nguồn điện đầu vào AC và DC. Các Module cung cấp điện là các khối có thể thay thế tại hiện trường (FRU) và có thể thay thế nóng. Khung máy được cung cấp với một nguồn điện được cài đặt sẵn trong khe cấp nguồn. Nếu chỉ có một nguồn điện được đặt hàng, thì một nắp trống sẽ được lắp vào khe cấp nguồn trống, nắp này vẫn phải được lắp nếu nguồn điện không được lắp đặt.
Module quạt
Switch hỗ trợ các quạt Module có tốc độ thay đổi, có thể thay thế tại hiện trường với luồng không khí từ trước ra sau. Các đơn vị quạt này hỗ trợ Chèn và Loại bỏ Trực tuyến (OIR) trong tối đa 120 giây. Bộ phận quạt có nhiệm vụ làm mát toàn bộ khung máy và giao tiếp với các bộ giám sát môi trường để kích hoạt cảnh báo khi điều kiện vượt quá ngưỡng.
Cài đặt Switch
Hộp vận chuyển chứa mô hình của Switch bạn đã đặt hàng và các thành phần khác cần thiết để lắp đặt. Một số thành phần là tùy chọn, tùy thuộc vào đơn đặt hàng của bạn.
Các thành phần được phân phối trong hộp vận chuyển của thiết bị chuyển mạch Cisco Catalyst 9500 Series
Các thành phần được phân phối trong hộp vận chuyển của thiết bị chuyển mạch hiệu suất cao Cisco Catalyst 9500 Series

Cài đặt Rack-Mounting
Để lắp đặt Hệ thống Tòa nhà Thiết bị Mạng (NEBS), hãy sử dụng bộ giá đỡ bốn trụ. Chiều sâu của giá, được đo giữa dải lắp phía trước và phía sau phải là:
- từ 25,14 inch đến 35,84 inch đối với C9500-24Q, C9500-12Q, C9500-40X và C9500-16X.
- từ 26,68 inch đến 42,63 inch đối với C9500-32C.
- từ 23,48 inch đến 39,43 inch đối với C9500-32QC, C9500-48Y4C VÀ C9500-24Y4C.
Đảm bảo bạn đã đọc Thông tin Tuân thủ Quy định và An toàn (RCSI) trước khi lắp đặt Switch.
Việc lắp đặt trong các giá đỡ khác với giá 19 inch yêu cầu bộ giá đỡ không đi kèm với Switch.
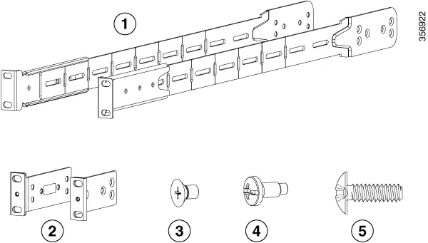
Giá đỡ gắn kết. Hình này cho thấy bộ bốn giá đỡ sau dành cho Thiết bị chuyển mạch Cisco Catalyst 9500 Series. Bạn có thể đặt hàng các dấu ngoặc tùy chọn từ đại diện bán hàng của Cisco.

Giá đỡ gắn tủ rack. Hình này cho thấy bộ bốn giá đỡ sau dành cho Thiết bị chuyển mạch hiệu suất cao Cisco Catalyst 9500.

Vị trí lắp phía trước của giá đỡ tủ rack
Vị trí lắp giữa của giá đỡ tủ rack
Vị trí lắp phía sau của giá đỡ tủ rack
Gắn thanh dẫn cáp
Lắp Switch vào giá tủ rack
Định cấu hình Switch bằng Giao diện Người dùng Web. Để biết thêm thông tin, hãy xem chủ đề “Định cấu hình Switch bằng giao diện người dùng web” trong Hướng dẫn cấu hình phần mềm .
Kết nối các thiết bị cần thiết với các cổng chuyển đổi.
Bật Switch cấp nguồn để khởi động hệ thống. Trong khi bật nguồn, Switch sẽ thực hiện một loạt các kiểm tra chẩn đoán khởi động.
Switch được thiết kế để khởi động trong vòng chưa đầy 30 phút, với điều kiện là các thiết bị lân cận ở trạng thái hoạt động hoàn toàn.
Xác minh kết nối cổng sau khi kết nối thiết bị với các cổng chuyển đổi. Đèn LED chuyển sang màu xanh lục khi Switch và thiết bị kèm theo có liên kết.
Cài đặt Module mạng
Module mạng C9500-NM-8X
Module mạng C9500-NM-2Q
Module mạng trống
Khi cài đặt Module mạng, hãy tuân thủ các lưu ý sau:
Không tháo Module trống khỏi khe cắm trừ khi bạn đang cài đặt Module SFP / SFP + / SFP28 / QSFP . Module hoặc phích cắm bụi phải luôn ở trong khe cắm.
Không tháo phích cắm bụi khỏi Module SFP / SFP + / SFP28 / QSFP cáp quang hoặc các nắp cao su khỏi cáp quang cho đến khi bạn kết nối cáp. Các phích cắm và nắp bảo vệ các cổng và cáp của Module khỏi bị nhiễm bẩn và ánh sáng xung quanh.
Việc gỡ bỏ và cài đặt Module mạng có thể rút ngắn thời gian sử dụng của nó. Không loại bỏ và chèn một Module mạng thường xuyên hơn mức cần thiết.
Để tránh hư hỏng ESD, hãy làm theo quy trình xử lý bo mạch và linh kiện thông thường của bạn khi kết nối cáp với Switch và các thiết bị khác.
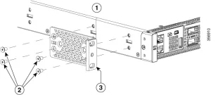
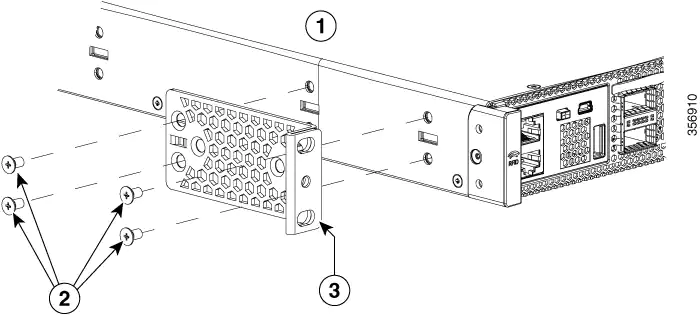
Đặt Module hướng lên trên để lắp vào khe Module. Trượt Module vào khe cắm cho đến khi mặt sau của mặt sau Module phẳng với mặt Switch. Cố định Module mạng tại chỗ bằng chốt.
Cài đặt Module Mạng trong Switch
Tìm số sê-ri của Module mạng

Nếu bạn liên hệ với Bộ phận Hỗ trợ Kỹ thuật của Cisco về một Module mạng, bạn cần biết số sê-ri của nó.
Lắp đặt nguồn điện
| Mã | Mô tả |
|---|---|
|
PWR-C4-950WAC-R |
950W AC Power Supply |
|
C9K-PWR-650WAC-R |
650W AC Power Supply |
|
C9K-PWR-1600WAC-R |
1600W AC Power Supply |
|
C9K-PWR-930WDC-R |
930W DC Power Supply |
|
C9-PWR-950WDC-R |
950W DC Power Supply |
|
C9K-PWR-1600WDC-R |
1600W DC Power Supply |
Khung Switch có hai khe cắm trong đó bạn có thể lắp đặt nguồn điện bằng bất kỳ cách kết hợp nào sau đây:
Hai nguồn điện AC, hai DC hoặc AC-DC
Một nguồn điện đầu vào AC hoặc một nguồn điện đầu vào DC (để nắp trống trên khe còn lại)
Nếu bạn để trống bất kỳ khe cấp nguồn nào, bạn phải đảm bảo rằng nắp trống (Mã bộ phận PWR-C4-BLANK, C9K-PWR-C4-BLANK và C9K-PWR-C5-BLANK) được lắp vào khe đó để duy trì luồng gió được thiết kế.
Nguồn điện đầu vào AC của Cisco Catalyst 650W
Nguồn điện đầu vào AC Cisco Catalyst 1600W
Nguồn điện đầu vào AC của Cisco Catalyst 950W
Nguồn điện đầu vào DC của Cisco Catalyst 950W
Nguồn điện đầu vào DC Cisco Catalyst 1600W
Nắp đậy khe cấp nguồn cho thiết bị chuyển mạch Cisco Catalyst 9500 Series
Hướng dẫn cài đặt
Khung chuyển mạch phải được lắp đặt trong tủ hoặc giá đỡ được gắn chặt vào trung tâm dữ liệu.
Tháo nguồn điện khỏi thùng vận chuyển của nó và loại bỏ bất kỳ bao bì nào.
Bạn cần các công cụ và thiết bị bổ sung sau:
Phần đính kèm trình điều khiển đai ốc cho tuốc nơ vít đầu Phillips số 1 hoặc cờ lê bánh cóc có khả năng tạo mô-men xoắn (chỉ được sử dụng cho nguồn điện đầu vào DC).
Dây nối đất – Kích thước dây này để đáp ứng các yêu cầu lắp đặt của địa phương và quốc gia. Đối với các cài đặt ở Hoa Kỳ, bạn phải sử dụng dây dẫn đồng 8-14 AWG cho hệ thống cung cấp điện AC. Để lắp đặt bên ngoài Hoa Kỳ, hãy tham khảo mã điện địa phương và quốc gia của bạn. Chiều dài của dây nối đất phụ thuộc vào khoảng cách của Switch với các phương tiện nối đất thích hợp.
Khung xe được kết nối với một mặt đất.
Bạn có ổ cắm cho nguồn điện trong tầm với của cáp cấp điện.
Nếu bạn đang kết nối với nguồn DC, hãy kiểm tra xem bạn có đang sử dụng cáp nguồn để kết nối với nguồn điện hay không. Kích thước dây áp dụng cho cáp âm [-] và cáp dương [+] kết nối với khẩu độ âm và dương trên đầu nối. Bạn phải mua cáp điện.
Nếu bạn đang lắp đặt nhiều hơn một nguồn điện đầu vào DC, mỗi nguồn phải được bảo vệ bằng bộ ngắt mạch chuyên dụng hoặc cầu chì có kích thước phù hợp với định mức đầu vào của nguồn điện và các yêu cầu về mã điện địa phương hoặc quốc gia.
Nguồn điện đã được lắp vào khung máy.
Đảm bảo rằng nguồn điện đang TẮT. Để phòng ngừa thêm, hãy đặt cờ an toàn thích hợp và các thiết bị khóa ở bộ ngắt mạch nguồn hoặc dán một miếng băng dính lên tay cầm của bộ ngắt mạch để ngăn việc vô tình khôi phục lại nguồn điện trong khi bạn đang làm việc trên mạch.
Trước khi thực hiện bất kỳ quy trình nào sau đây, hãy đảm bảo rằng nguồn điện đã được lấy ra khỏi mạch DC.
Lắp đặt nguồn điện
Đảm bảo rằng nguồn điện được lắp vào khe cắm đúng hướng. Nếu bạn đã cắm nguồn điện theo chiều ngược lại, đèn LED màu hổ phách trên nguồn điện sẽ nhấp nháy liên tục.
Lắp đặt nguồn điện

Kết nối với nguồn điện
Mỗi cáp nguồn được vận chuyển với các đầu nối phối ghép với một trong các đầu nối trên ổ cắm điện và đầu nối khác trên bảng điều khiển phía trước của nguồn điện. Bạn làm theo các bước tương tự để lắp đặt nguồn điện đầu vào AC và đầu vào DC, nhưng bạn phải nối đất chúng khác nhau.
Nguồn điện đầu vào AC — Nó tự động được nối đất khi bạn kết nối cáp nguồn của nó với nguồn điện và nguồn điện.
Nguồn điện đầu vào DC — Bạn không kết nối nguồn điện trực tiếp với đất nối đất.
Tìm số sê-ri
Nếu bạn liên hệ với Bộ phận hỗ trợ kỹ thuật của Cisco, bạn cần biết số sê-ri. Những con số này cho thấy số sê-ri nằm ở đâu. Bạn cũng có thể sử dụng lệnh hiển thị hàng tồn kho EXEC để xem số sê-ri.
Cài đặt Module quạt
Tùy thuộc vào kiểu Switch, có sẵn 5 Module quạt riêng lẻ hoặc 2 khay quạt với Module quạt xếp chồng kép. Trong các kiểu máy sử dụng 5 Module quạt, Switch có thể hoạt động với 4 quạt hoạt động và 1 quạt không hoạt động, nhưng quạt hỏng phải được thay thế càng sớm càng tốt để tránh gián đoạn dịch vụ do lỗi quạt thứ hai.
Để chuyển sang chế độ khởi động, hãy đảm bảo các điều kiện sau được đáp ứng.
Các Switch sử dụng Module FAN-T4-R và C9K-T2-FANTRAY = phải có tối thiểu 4 quạt hoạt động bình thường
Các Switch sử dụng Module C9K-T1-FANTRAY phải có 2 Module khay quạt với tất cả các quạt hoạt động bình thường
Nếu Switch không đáp ứng được số lượng quạt yêu cầu tối thiểu, Switch sẽ tự động tắt để ngăn hệ thống quá nóng.
Tuân thủ các nguyên tắc này khi tháo hoặc lắp Module quạt:
Không ép Module quạt vào khe cắm. Điều này có thể làm hỏng các chân trên Switch nếu chúng không được căn chỉnh với Module.
Module quạt chỉ được kết nối một phần với Switch có thể làm gián đoạn hoạt động của hệ thống.
Switch hỗ trợ hoán đổi nóng Module quạt. Bạn có thể tháo và thay thế Module mà không làm gián đoạn hoạt động của Switch bình thường.
Lắp đặt Module Quạt trên Mẫu thiết bị chuyển mạch Cisco Catalyst 9500 Hiệu suất cao C9500-32C
Lắp đặt Module quạt trên các mẫu Switch Cisco Catalyst 9500 Hiệu suất cao C9500-32QC, C9500-48Y4C và C9500-24Y4C
Cài đặt Module SSD

Module SSD SATA có sẵn dưới dạng đơn vị có thể thay thế tại hiện trường (FRU). Module SSD có một nút tạo điều kiện thuận lợi cho việc hoán đổi nóng Module. Để tránh mất dữ liệu, hãy nhấn nút hoán đổi nóng để yêu cầu xóa và đợi hệ thống xác nhận xóa an toàn bằng cách tắt đèn LED trạng thái.
Ổ cứng SSD SATA
































